我们不定期在此更新CMS应用快车资源的使用教程,只为给您更好的服务!
查看快车资源站:kuaichezy.com
备用网址:kuaichezy1.com至kuaichezy9.com
解析接口:https://jiexi.kczyapi.com/m3u8/?url=
综合资源采集XML接口:https://caiji.kczyapi.com/api.php/provide/vod/at/xml/
综合资源采集josn接口:https://caiji.kczyapi.com/api.php/provide/vod/?ac=list
kcm3u8采集接口xml:https://caiji.kczyapi.com/api.php/provide/vod/from/kcm3u8/at/xml/
kcyun采集接口xml:https://caiji.kczyapi.com/api.php/provide/vod/from/kcyun/at/xml/
本站图片地址后期将采用图床样式,可以调用, 采集的同时,也可以把图片下载到本地(推荐),以免杜绝日后出现类似图片失效的情况。
在采集的时候如果出现xml出错,建议你从新再次进入采集列表,就能正常采集了。
请按以下步骤进行:依次点击【数据采集】-【新增资源库】,然后依次输入
资源库名称:快车资源
kcm3u8接口地址地址:https://caiji.kczyapi.com/api.php/provide/vod/from/kcm3u8/at/xml
首页登录CMS管理后台:

然后点击左侧菜单的“数据采集”展开菜单并点击“采集管理”,打开采集管理后再点击“新增资源库”。

填入资源库资料,根据资源地址、采集来源及接口类型,点击测试所填信息是否有效,如果无效资源将不能添加。

采集资源匹配了目前流行的多个CMS系统,可根据你的接口来选择来源,推荐使用爱影CMS的专用接口保证数据的完整性。

将添加的资源库进行站点绑定,需要采集到哪个站点就绑定哪个站点

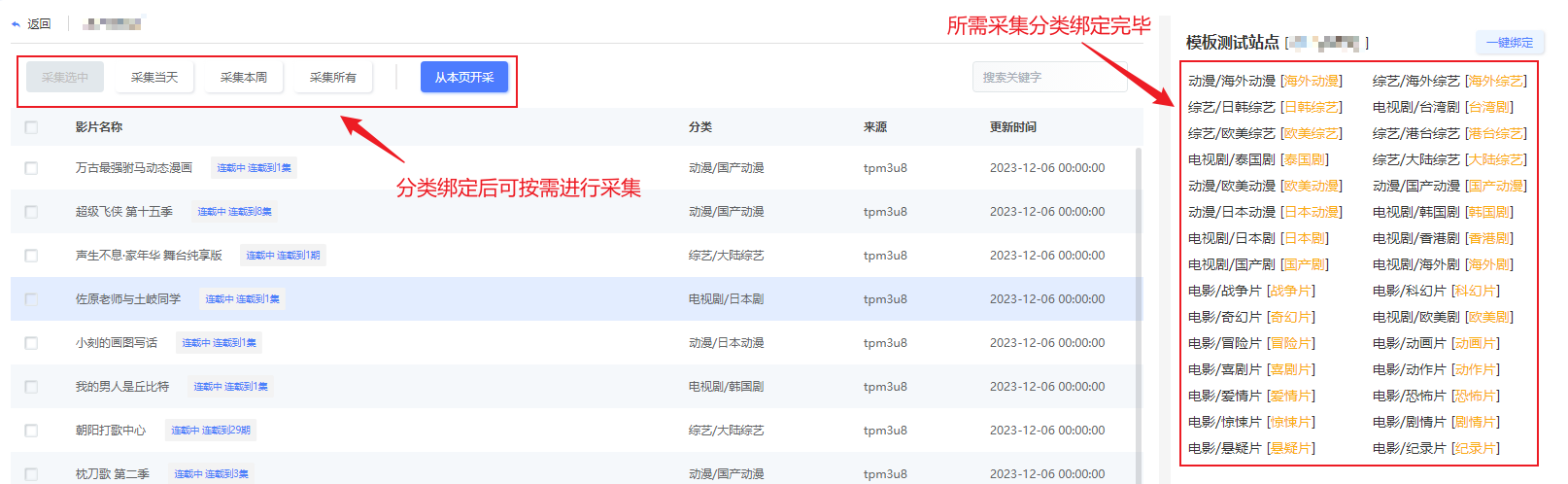
资源库添加成功后,接下来进行分类绑定,未绑定的分类数据将不能采集成功。

点击未绑定的分类进行分类绑定。

分类绑定完成后,就可以开始进行快捷采集了,或者搜索电影进行精细采集。


采集完成后,还可以查看本次采集记录。

可添加多个资源库进行采集,只要重复以上步骤即可。
有的会员朋友采集资源后,播放片源没有自动选择对应的数据,这种情况通常是因为没有添加对应的播放器导致!
工具软件-播放器管理
以kcm3u8的资源为例(还有一个kcm3u8)

本站采集插件已经可以适配海洋CMS,支持M3U8在线播放和下载资源的采集,快速更新,稳定播放!
快捷菜单接口 快车资源,admin_reslib.php?ac=list&rid=&url=https://caiji.kczyapi.com/api.php/provide/vod/at/xml/
请按以下步骤进行:依次点击【采集】-【资源库管理】,然后依次输入
资源库名称:快车资源
快车资源库地址:https://caiji.kczyapi.com/api.php/provide/vod/at/xml/
点击【增加】按钮即可,具体操作如下图
本站采集插件已经可以适配苹果CMS,支持M3U8在线播放和下载资源的采集,快速更新,稳定播放!
苹果8.x在您的采集菜单中添加下面内容
快捷采集菜单:快车资源,?m=collect-list-ac2--hour--xt-1-ct--group--flag-tantanzycom-apiurl-https://caiji.kczyapi.com/api.php/provide/vod/at/xml/ 本站可用api信息如下
快车资源 https://caiji.kczyapi.com/api.php/provide/vod/at/xml/
添加方法如下(不要填写附加参数)
收到很多会员朋友反馈说采集提示404,文件路径:admin_maccj.php
后分析代码发现是因为网址参数丢失导致
请手动修改浏览器的网址,在admin/后面加上index.php?m=admin-index即可正常采集
有的会员朋友采集资源后,状态或者下载地址虽然提示了成功并没有更新成功,可检查下是否勾选了下图中的选项
有的会员朋友采集资源后,播放片源没有自动选择对应的数据,这种情况通常是因为没有添加对应的播放器导致!
需要先再网站后台添加对应的播放器,才可以实现播放,以kcm3u8的资源为例【点击下载播放器文件】
添加播放器后需要点击右上角的清空缓存,至此,可以愉快的采集和播放了
本站采集插件已经可以适配苹果CMSV10,支持M3U8在线播放和云播,快速更新,稳定播放!
本站可用api信息如下
快车资源 https://caiji.kczyapi.com/api.php/provide/vod/?ac=list
添加方法如下(不要填写附加参数)
有的会员朋友采集资源后,播放片源没有自动选择对应的数据,这种情况通常是因为没有添加对应的播放器导致!
需要先再网站后台添加对应的播放器,才可以实现播放。下载文件解压后按下图操作【下载播放器文件】
操作完成后点击后台右上角[清缓存],此时再看数据,已经可以正确的选择播放器并且可正常播放了
本站采集插件已经可以适配飞飞影视系统PHP版(PPVOD)最新版3.4,支持M3U8在线播放资源的采集,快速更新,稳定播放!
请按以下步骤进行:依次点击【采集】-【添加资源库】,然后依次输入
资源库名称:快车资源
快车资源库地址:https://caiji.kczyapi.com/api.php/provide/vod/at/xml/
点击【提交】按钮即可,具体操作如下图
首次使用,需要添加播放器,播放器添加教程在下方
请按以下步骤进行:依次点击【视频】-【播放器设置】,然后在【添加播放器来源】依次输入
播放器名称:快车资源
播放器标志:kcm3u8
点击【保存按钮】按钮即可,具体操作如下图
添加播放器后点击右上角【清空缓存】,此时因为我们添加了播放器,后台会自动选中正确的播放片源
但是可能依旧不能播放,下载解析包替换Public\player目录中的文件即可【点击下载】
另因为飞飞默认为云解析,可能不支持我们的资源,需要如下设置
本站采集插件已经可以适配飞飞影视系统PHP版(PPVOD)完美版,支持M3U8在线播放和下载资源的采集,快速更新,稳定播放!
依次点选【采集管理】>【一键采集视频】 如下图
首次使用,需要绑定分类,如下图
修改Lib/Conf/config.php,在列表最后添加:
'kcm3u8'=> array('36','快车资源'),
其中36修改成你实际的顺序,按照上一个播放器的id增加就可以。
添加播放器后点击右上角【清空缓存】,此时因为我们添加了播放器,后台会自动选中正确的播放片源
但是可能依旧不能播放,下载解析包替换Public\player5.0目录中的文件即可【点击下载】
本站采集插件已经可以适配赞片CMS V8,支持M3U8在线播放和云播,快速更新,稳定播放!
请按照下图打开采集添加界面
在弹出的窗口中,填写下方的信息
资源名称:快车资源网
快车资源地址:https://caiji.kczyapi.com/api.php/provide/vod/at/xml/
添加方法如下图
填写完成后点击最下方的[确定]按钮即可
有的会员朋友采集资源后,播放片源没有自动选择对应的数据,这种情况通常是因为没有添加对应的播放器导致!
需要先再网站后台添加对应的播放器,才可以实现播放,具体操作流程如下
先打开播放器添加窗口,操作方式如下图
在弹出的窗口中,填写下方的信息
播放器名称和标志:kcm3u8
解析地址:https://jiexi.kczyapi.com/m3u8/?url=
填写完成后点击最下方的[确定]按钮即可
全部操作完成后点击后台右上角[垃圾桶图标](清空缓存)
此时再看数据,已经可以正确的选择播放器并且可正常播放了
XML采集地址:https://caiji.kczyapi.com/api.php/provide/vod/at/xml/
1,json视频列表地址https://caiji.kczyapi.com/api.php/provide/vod/?ac=list
2,json视频详情地址https://caiji.kczyapi.com/api.php/provide/vod/?ac=detail
DP播放器解析接口: https://jiexi.kczyapi.com/m3u8/?url=
更多CMS适配教程正在准备中,不久的将来将会与大家见面